
编辑|孤馆深深
前言首次使用微机电系统(MEMS)技术制造的硅振膜设计和制备了带有双通道马赫-曾德尔干涉(MZI)换能器的原型光学仿生麦克风,由两个方形机翼组成,通过颈部连接,颈部通过两个扭转梁固定在硅基座上,MEMS振膜模仿了苍蝇OrmiaOchracea耦合耳膜的结构。

MEMS振膜模仿苍蝇OrmiaOchracea耦合耳膜的结构,并用绝缘体上硅(SOI)衬底制备,仿生膜片由两个方形翼(2毫米×2毫米)、一个方形耦合桥(1毫米×1毫米)和两个扭腿(0.1毫米×0.2毫米)组成,两个机翼通过联轴桥连接。
两个扭腿用于将耦合桥固定在SOI底座上,隔膜和SOI基座之间的气隙设计为100μm宽度,仿生MEMS隔膜的厚度为10μm,每个机翼在其远端边缘相对于SOI基座的振动位移是用双通道MZI换能器的一个通道实时检测的。

设计的原型光学仿生麦克风使用双通道MZI换能器同时检测振膜两翼远端边缘的振动位移,由于仿生MEMS膜片结构的对称性,两个MZI通道具有相同的光学排列。
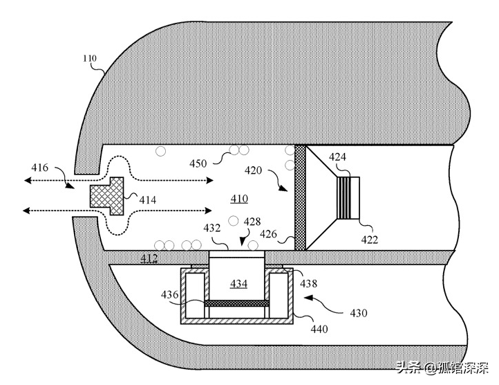
示意性地显示了单通道MZI换能器的光学排列,激光束穿过半反射/半透射镜,以法向入射照亮仿生MEMS膜片的指定区域,照明区域包含SOI底座的边缘,隔膜机翼的边缘以及两个边缘之间的气隙。

两束部分光束通过SOI基座的反射表面和机翼的反射表面反射回镜子,并通过镜子的反射和随后的透镜聚焦在感光器上重叠,机翼反射的部分光束用于感测振膜的振动,SOI基座反射的部分光束作为参考,两个部分光束的干涉发生在光电探测器上,检测到的光强度可以表示为:

利用位于扬声器发出的声场中的设计仿生MEMS振膜创建了三维(3D)模型,用于基于有限元方法模拟振膜的振动特性,x轴和z轴为仿生膜片的长短轴,Y轴垂直于膜片。
在有限元仿真过程中,仿生MEMS隔膜周围的SOI基数设置为固定边界,我们的团队首先仿真了所设计的仿生MEMS振膜的振动模式。

仿生MEMS膜片有两种振动模式,即摇摆模式和弯曲模式,摇摆模式为反对称振动模式,对声压梯度敏感,弯曲模式为对称振动模式,对声压敏感。
只有仿生振膜的摇摆模式具有方向灵敏度,因此在摇摆模式共振带内的频率下为振膜提供SSL能力,设计的仿生振膜的这些特征与苍蝇OrmiaOchracea耳朵的振动特性完全相同。

其次,仿真了仿生MEMS振膜的频率响应,在仿真模型中,入射声是沿x轴传播的平面波(即θ=90º),声压为1帕,仿真中考虑了空气阻尼对仿生膜片振动的影响,同时计算仿生MEMS振膜两翼远端边缘的振幅。
声波频率在200Hz至2kHz之间变化,频率间隔为20Hz,由于两翼的频率响应彼此相同,其中两个峰值频率为820Hz和1590Hz,分别对应于振膜的摇摆和弯曲模式的共振频率。

使用的基板是一个4英寸的SOI晶圆,其中包含一个10μm厚的器件层、一个1μm厚的埋入氧化层和一个360μm厚的手柄层,仿生MEMS膜片按以下步骤制备:(a)在器件层上沉积光刻胶层。
然后通过具有仿生膜片图案,用深反应离子蚀刻(DRIE)暴露的器件层,蚀刻器件层用一层粘性光刻胶保护,以防止其被随后的DRIE手柄层在图案化涂覆在其上的光刻胶层后用DRIE蚀刻。

蚀刻停止在埋藏的氧化层,使用反应离子蚀刻(RIE)在蚀刻器件层上溅射20nm厚的铬层,以增加仿生MEMS振膜的反射率,从而提高光学仿生麦克风的灵敏度。

我决定采用扫描电子显微镜(SEM)对制备的仿生MEMS隔膜进行了表征,显示隔膜的SEM图像,仿生MEMS膜片的微观结构尺寸与设计尺寸相同,SEM图像显示膜片光滑,机翼不向上或向下弯曲,结果表明,由隔膜组成的机翼与周围的SOI基底共面。

基于双通道MZI的光学仿生MEMS麦克风的原理原型是在小型光学基板上构建的,使用633nm氦氖激光器(SPLPhotonicsCo,SPL-HN,杭州,中国),两个分束器(BS),玻璃棱镜(Thorlabs,MRA10L-E02,牛顿,新泽西州,美国)。
两个小透镜和安装在PCB上的两个光电探测器,还使用了一些光学支架和载物台,为了便于理解,原型麦克风的设计光学布置,第一个BS(BS1)和棱镜组合成BS-棱镜模块,不仅可以将激光束分成两个平行光束,还可以控制光束间距离,以匹配仿生MEMS膜片两翼远端边缘之间的间距。

两个平行光束用于实现双通道MZI换能器,以同时检测仿生MEMS膜片两翼在其远端边缘的位移,激光束的直径约为1mm,确保膜片的照明区域包含SOI底座的边缘、机翼的边缘以及两个边缘之间的气隙。


并放置在参考麦克风和仿生振膜的前面,从扬声器到参考麦克风的距离等于到仿生振膜的距离,来自扬声器的扫频声波以θ≈0°入射到参考麦克风和仿生振膜上,使用BKPULSELabshop软件分析了参考麦克风和原型仿生麦克风的两个MZI通道的信号输出。
为了比较原型光学仿生麦克风的两个MZI通道之间对单频声音的时间响应行为,在会议室进行了实验测量,使用的声源是一个家用扬声器,带有一个功率放大器。

与信号发生器连接,原型话筒的两个MZI通道的输出信号通过数据采集卡采集,然后使用LabVIEW软件处理信号。
使用相同的测试系统,在消声室中研究了原型光学仿生麦克风的方向响应,请注意,在所有测量中,家用扬声器和仿生MEMS振膜之间的距离约为1.2m。

使用原型光学仿生麦克风的两个MZI通道(@θ=0°)获得的两个频率响应曲线,每条曲线包含位于482Hz和1911Hz的两个谐振峰,对应于摇摆模式和弯曲模式谐振频率,实验结果表明,两个MZI信道的频率响应是一致的。

然而,测得的频率与仿真数据有很大差异(摇摆模式为820Hz,弯曲模式为1590Hz),主要归因于三个原因。
第一个原因是仿生MEMS隔膜上的铬薄膜溅射,在仿真过程中未考虑此层,第二个原因是MEMS加工在隔膜中引起的残余应力,第三个原因是实际芯片的尺寸与设计尺寸的偏差很小。

原型话筒的两个MZI通道对θ=0°入射的低频声波的时间响应,声压为0.5Pa,其频率为482Hz,等于摇摆模式共振频率。
显然,两个MZI通道的输出信号相位相反,还显示了两个MZI通道的频域响应幅度,这是通过快速傅里叶变换(FFT)方法处理测得的时间响应数据而获得的,两个MZI通道的响应幅度彼此非常接近。

还研究了原型话筒的两个MZI通道对高频声音的时间响应和相应的频域响应幅度,声压为1.23Pa,频率为1911Hz,等于弯曲模式共振频率,在这种情况下,原型麦克风的两个MZI通道的输出信号具有完全相同的相位和几乎相等的幅度。
结果表明,MZI换能器确实可以显著提高仿生传声器原型两个通道的响应一致性。

在入射声功率为58dB(相对于20μPa)且频率固定在振膜摇摆模式共振频率(482Hz)的条件下,通过逐步改变声音入射角来测量原型光学仿生话筒的两个MZI通道的方向响应,即坐标系中测量的响应幅度与入射角的关系。
从而为每个MZI通道产生“8”形模式,原型麦克风的测量方向响应与两个“8”模式,不完全重叠,这不是由于测量误差,而是暗示原型麦克风的两个MZI通道之间的方向响应略有不同。

在仿真结果中也观察到仿生隔膜两翼之间的这种细微差异(未显示),在笛卡尔坐标系中绘制每个MZI通道相对于声波入射角测量的响应幅度导致正弦曲线,麦克风响应幅度对入射角的线性依赖性存在于60º以内的窄角范围内,基于这种线性关系,原型仿生麦克风能够在60°的角度范围内实现精确的SSL。

这项工作展示了MZI换能器首次成功应用于实现光学仿生麦克风,MZI换能器与MEMS仿生膜片高度兼容,其设计用于轻松检测膜片远端边缘的位移,该位移大于隔膜其他位置的位移,MZI可以将隔膜检测点的位移转换为传感光束和参考光束之间光程差的一半。
因此,基于MZI的光学仿生麦克风对声音信号具有很高的灵敏度,当振膜静止时,MZI的传感光束和参考光束之间的相位差为零,使仿生麦克风对温度波动具有鲁棒性。

使用分立光学元件和实验室制造的基于SOI的MEMS仿生振膜,制备了带有双通道MZI换能器的原型光学仿生传声器,以同时检测振膜两个相对远端边缘的两个位移。
实验结果表明,当声波频率在仿生振膜的摇摆模谐振带内时,两个MZI通道的输出信号相位相反,幅度相等,各MZI通道的响应幅值随声波的入射角而变化,在极坐标系中形成“8”型,还显示了MZI换能器技术在开发用于SSL应用的小型化高性能光学仿生麦克风方面的显著优势和高适用性。
参考文献